Home
Forum
Search
Login
Register
Merch
Donate
Welcome, Guest. Please
Login
or
Register
::
View Members
SuzukiSavage.com
›
General Category
›
Rubber Side Down!
› Flooding when accelerating past throttle stop
(Moderators:
verslagen1
,
Dave
,
Serowbot
)
‹
Previous topic
|
Next topic
›
Pages:
1
2
3
4
Flooding when accelerating past throttle stop (Read 667 times)
Warric
YaBB Newbies
Offline
Rock On
Posts: 24
New Zealand
Gender:
Flooding when accelerating past throttle stop
01/10/08 at 10:22:24
Morning all. I ride an 03 LS650, and while tinkering the other nite I altered the throttle stop so that I could open it right up. Instead of getting more top end like I had hoped, the bike floods & starts to die. Is this normal & should the throttle stop be returned? Thanks
Back to top
IP Logged
Savage_Greg
Serious Thumper
Alliance Member
Offline
Don't go around your
ass to reach your
elbow...
Posts: 7844
SW Washington State
Gender:
Re: Flooding when accelerating past throttle stop
Reply #1 -
01/10/08 at 10:28:27
Well? How do I answer that? Hmmm.
If you do something and it doesn't work, what should you do?
Back to top
IP Logged
T Mack 1 - FSO
Serious Thumper
Alliance Member
Offline
sold 2001 LS650 for
a 1986 XLH1100
Posts: 2919
Emmaus,Pa
Gender:
Re: Flooding when accelerating past throttle stop
Reply #2 -
01/10/08 at 10:36:04
Like Greg says, put it back first . Then think about it.
Next, is it really flooding (wet plug?) or are you getting too much air which will also make it go blah???????
BTW, since I don't have books here at work, where is the throttle stop adjusted......
Back to top
Engineers design things, Technicians make them work.
---
30% of being mechanical is confidence/30% is knowing to go slow when needed/30% is looking repeatedly at what you have/10% is dumb luck
IP Logged
Warric
YaBB Newbies
Offline
Rock On
Posts: 24
New Zealand
Gender:
Re: Flooding when accelerating past throttle stop
Reply #3 -
01/10/08 at 11:05:28
I do not know, Im not a mechanic. Forget I asked ill put it back. Cheer
Back to top
IP Logged
crimsonblaspheme
YaBB Newbies
Offline
SuzukiSavage.com
Rocks!
Posts: 15
Re: Flooding when accelerating past throttle stop
Reply #4 -
01/10/08 at 12:16:58
As I've found the rebel forum more helpful concerning this bike than most of the people here I will not hesitate to say "savage greg, what the hell is your problem? were you abused as a child? Do you have a terminal illness? Or did your mother just never teach you how to be polite? Stop being such a sarcastic not a very nice person. The point of forums is to exchange information. If you dont want to actually help someone you can refer them to the tech pages or prefereably just shut the crappity smack up" Since I don't imagine I'll be welcome anymore I want to sincerely thank those who were polite and helpful. As for you greg, i wish terrible things on you and If I knew where you lived I'd push your bike over a cliff...maybe with you on it.
Back to top
IP Logged
crimsonblaspheme
YaBB Newbies
Offline
SuzukiSavage.com
Rocks!
Posts: 15
Re: Flooding when accelerating past throttle stop
Reply #5 -
01/10/08 at 12:31:45
just be aware I used and am more fond of "stronger" language in your case greg. I assumed my post would just be removed. I didnt know the care bears came around and removed all the profanity. Just be really receptive, I'm thinking ALOT of profanity your way.
Back to top
IP Logged
verslagen1
YaBB Moderator
ModSquad
Offline
Where there's a
will, I want to be
in it.
Posts: 29042
L.A. California
Gender:
Re: Flooding when accelerating past throttle stop
Reply #6 -
01/10/08 at 12:53:49
Are you going to follow greg all over this site and sh!t all over him every chance you get?
Why don't you 2 get yourself a room.
Back to top
Versey's Place
Tech Section Index
IP Logged
crimsonblaspheme
YaBB Newbies
Offline
SuzukiSavage.com
Rocks!
Posts: 15
Re: Flooding when accelerating past throttle stop
Reply #7 -
01/10/08 at 13:24:28
only when he makes a smart alec comment to someone who's actually looking for advice. He could've just said "look at the tech pages" but he wanted to be a d1ck so...But don't worry, this forum is practically useless. The tech pages are nice, but forum itself has thus far been a waste of my time so you wont be hearing from me much. Although I'm sure you'll still get all of greg's razor sharp wit which you seem to enjoy, so it's all good.
Back to top
IP Logged
T Mack 1 - FSO
Serious Thumper
Alliance Member
Offline
sold 2001 LS650 for
a 1986 XLH1100
Posts: 2919
Emmaus,Pa
Gender:
Re: Flooding when accelerating past throttle stop
Reply #8 -
01/10/08 at 13:55:39
wow...
Back to the thread,,,,,,,,,
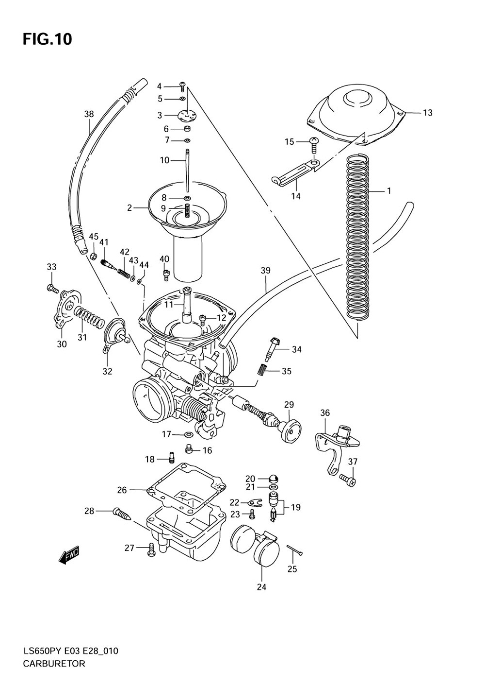
So..... where is the throttle stop adjuster?
What # on pict attached
(2001 carb which should be same as 03)
Click on file name here to get blow-up
Back to top
CARB.jpg
Engineers design things, Technicians make them work.
---
30% of being mechanical is confidence/30% is knowing to go slow when needed/30% is looking repeatedly at what you have/10% is dumb luck
IP Logged
Warric
YaBB Newbies
Offline
Rock On
Posts: 24
New Zealand
Gender:
Re: Flooding when accelerating past throttle stop
Reply #9 -
01/10/08 at 14:52:08
Hi, #37. Part of the throttle cable bracket (think thats what its called)
Thanks
Back to top
IP Logged
govmule84
Full Member
Offline
Scooter Trash
Posts: 119
Central Missouri
Gender:
Re: Flooding when accelerating past throttle stop
Reply #10 -
01/10/08 at 15:39:31
Ahh, Jeez. Put some tougher skin on. There is NO REASON to yank a throttle stop...how in the Good Lord's name would that help performance?!
He was just telling him to put it back how it was and leave his paws off it. Most of the crazy stuff we've done to our bikes we've figured out on our own...not without some help, but little, to say the least.
Toughen up.
Back to top
Ninety percent of my money went to bikes, broads, and booze. The rest I wasted.
IP Logged
T Mack 1 - FSO
Serious Thumper
Alliance Member
Offline
sold 2001 LS650 for
a 1986 XLH1100
Posts: 2919
Emmaus,Pa
Gender:
Re: Flooding when accelerating past throttle stop
Reply #11 -
01/10/08 at 15:42:17
Hmmmm...... Part microfische calls it a screw.
At home now and the Fact Serv man doesn't say a thing about it (big surprise........not)
Looked at my '01, Yea it stops the throttle movement. Yea, with the screw in the throttle doesn't go a full 90 degrees (maybe 85 or 88). So, your thinking is sort of sound, full 90 would give a bit more "zoom".
What did you do to modify it?
On mine, take the screw out and throttle shaft goes a bunch of degree's past 90 degree of movemnt which is no good. Did you get a second screw and cut-off the head (make a stud out of it) to get that tiny bit more???
Big question is, with screw in, and WOT is the throttle plate full open (sorry, I have factory Airbox on and its a pain to take carb off )? Next question is, if with this mod you can get the plate at max open, is main jet modified to give that little more fuel you will need?
Back to top
Engineers design things, Technicians make them work.
---
30% of being mechanical is confidence/30% is knowing to go slow when needed/30% is looking repeatedly at what you have/10% is dumb luck
IP Logged
SteveRocket1
Senior Member
Offline
A day without riding
is like a day
without beer.
Posts: 441
California
Gender:
Re: Flooding when accelerating past throttle stop
Reply #12 -
01/10/08 at 15:43:38
I don't think that is the throttle stop it looks like it is the screw that holds the bracket. I am only able to look at the diagram at the moment. Are any of our carb experts around? They have more knowledge. But first of all put it back to where it was to stop the leak and then research it a bit more. As a lot of others will say "Consider buying the Clymers manual" For $30 odd you will get a ton of knowledge
Steve
Back to top
'87 Savage but now with a Supertrapp muffler with 8 disks and competition end cap, TKat Fork brace, oldfeller airfilter, Z Bars, Turn Signal bleeper,Rather Loud Horn. and cousin Bonnie too..
IP Logged
skrapiron -FSO
Serious Thumper
Offline
Instant Human....
Just add coffee..
Posts: 1456
Pittsburgh, Pa
Gender:
Re: Flooding when accelerating past throttle stop
Reply #13 -
01/10/08 at 15:46:11
I agree with Greg.. If you don;t know what you're doing, don't dork with it in the first place........... Ignore that advice and you get what you deserve.
It is a PURELY MECHANICAL engine. Other than the solid state spark control, the intake timing, exhaust timing, air/fuel ratios are all mechanically controlled. Make just ONE change to any part of that system (from intake to exhaust) and YOU... yes YOU, the one with the screwdriver in hand, better be prepared to RE-TUNE the engine to accomodate the change.
Now, as for the original experiment? # 37 is the throttle stop bracket support screw. Why on earth would you every remove that?
Without the throttle stop, you are allowing the throttle body to fully close. That's going to result in an over rich idle circuit. Snap the throttle and it's going to sputter and cough until the engine gets enough O2 to compensate.
Seriously, just put it back and leave it alone. If you want to tinker, buy a manual.... Or at least ASK BEFORE you take a wrench to it......
Back to top
Everything I say is fully substantiated by my own opinion.
IP Logged
Savage_Greg
Serious Thumper
Alliance Member
Offline
Don't go around your
ass to reach your
elbow...
Posts: 7844
SW Washington State
Gender:
Re: Flooding when accelerating past throttle stop
Reply #14 -
01/10/08 at 15:55:08
verslagen1 wrote
on 01/10/08 at 12:53:49:
Are you going to follow greg all over this site and sh!t all over him every chance you get?
Why don't you 2 get yourself a room.
What? Has he been saying bad stuff?
And I should worry about someone named Crimsonblaspheme? Does sounds like he's a little red in the face, though. Maybe he'll leave because he has no sense of humor and rides a Rebel anyway.
Back to top
IP Logged
Pages:
1
2
3
4
‹
Previous topic
|
Next topic
›
Forum Jump »
» 10 most recent posts
» 10 most recent topics
General Category
»» Rubber Side Down!
- Technical Documents/Reference
- The Marketplace
- The Cafe
- Politics, Religion (Tall Table)
- Forum Upgrade Issues / Tests
« Home
« Home
SuzukiSavage.com
12/25/25 at 14:05:05
›
General Category
›
Rubber Side Down!
› Flooding when accelerating past throttle stop
SuzukiSavage.com
» Powered by
YaBB 2.2
!
YaBB
© 2000-2007. All Rights Reserved.