Donate!
Welcome, Guest. Please Login or Register :: View Members
Poll Poll
Question: Speedo cable leaking oil? How did you fix it?

No. Never a drop.
Yes. O-rings.
Yes. Removed speedo.
Yes. Taped threaded.
Yes. Did not fix. Still leaks.
Yes. Tried Ben's discovery and doesn't leak now.


« Last Modified by: Ben aka ubergeek on: 05/28/12 at 09:34:00 »

Pages: 1 2 3 4 
Send Topic Print
A potential fix for speedo cable oil leak! (Read 1999 times)
Oldfeller--FSO
Serious Thumper
ModSquad
*****
Offline

Hobby is now
"concentrated
neuropany"

Posts: 12686
Fayetteville, NC
Gender: male
Re: A potential fix for speedo cable oil leak!
Reply #45 - 08/03/13 at 19:45:15
 

Dude, nobody is using the flat washer trick since we found the correct part number for the rubber lip seal and it only costs $3.

But hey, you can use whatever you like, it's your bike.

There is an issue with that flat washer trick getting a little bit off center and the steel washer part eating up the shaft, then you got other issues to deal with as no seal is going to seat & seal on an eaten up shaft.

Read back over the last page or so, it's all in there.
Back to top
 
 

Former Savage Owner
  IP Logged
savagerider87
Full Member
***
Offline

Riding a quality
Japanese machine
since '13

Posts: 224
Northern NY
Gender: male
Re: Permanent fix for speedo cable oil leak!
Reply #46 - 08/03/13 at 21:54:29
 
Savage_Rob wrote on 05/22/12 at 14:50:04:
I know several folks have just used a nitrile o-ring with good results.
i did it and it worked for me Smiley
Back to top
 
 

1987 650 F Jardine exhaust,custom leather lever covers,and Corbin seat
2014 Star Bolt R-Spec
  IP Logged
Oldfeller--FSO
Serious Thumper
ModSquad
*****
Offline

Hobby is now
"concentrated
neuropany"

Posts: 12686
Fayetteville, NC
Gender: male
Re: A potential fix for speedo cable oil leak!
Reply #47 - 08/05/13 at 01:01:59
 

Many have used the $.89 plain "O" ring trick and had no problems (no shaft damage).  All of us have used the factory $3 lip seal with no shaft damage.

Using steel backed rubber washers CAN do steel on steel damage to the inner flex shaft, after which there is no fixing it other than a  new cable.

You pick, it's your bike.
Back to top
 
 

Former Savage Owner
  IP Logged
Jeff71
Senior Member
****
Offline

I'm a bike noob!!!!!

Posts: 378
South of Chicago, the suburbs
Gender: male
Re: A potential fix for speedo cable oil leak!
Reply #48 - 07/25/14 at 09:21:50
 
What if you remove the cable completely? I'd like to do this on my project as I'll be running an Acewell speedo. I was thinking a nice acorn nut over it would work. (Or a nut with the end welded shut.) Anyone know the thread size and pitch? Thanks!
Jeff
Back to top
 
 

Yeah, like I have any clue what is going on....
http://myrycabuild.weebly.com
  IP Logged
Digger
Serious Thumper
2005 No Login
*****
Offline

Ya gotta be tough to
ride singles!

Posts: 1604
Colorado Springs, CO
Gender: male
Re: A potential fix for speedo cable oil leak!
Reply #49 - 08/06/14 at 20:40:04
 
Well, I guess that the OEM seal just does not work for me (specifics on my Savage are in my signature block).

I put a new on on there about 500 miles ago.

Just noticed this oil leak:







Looks like it's back to the o-ring kludge for me.

I'll try to update the above "kludge" thread with specific information (sizing, material) of the o-ring I end up going with.

And I had such high hopes....
Back to top
 
 

Digger
2001, Metallic Glacial Blue, Raptor Petcock, Verslavy (first hole) (otherwise, mechanically, the bike is stock), 13,xxx miles
I don't own a cage.
www.astronautbiker.com
WWW   IP Logged
Dave
YaBB Moderator
ModSquad
*****
Offline

SuzukiSavage.com
Rocks!

Posts: 18593
Camp Springs, Kentucky
Gender: male
Re: A potential fix for speedo cable oil leak!
Reply #50 - 08/07/14 at 03:27:54
 
It could also be the O-ring on the part that is mounted in the engine block.  Mine started leaking earlier this summer.

I had a strange once in a while issue with a fine oil drops on the right side of the engine, and it would also get on top of the fuel tank.  I could ride for weeks with nothing....and then it would show up - but I could not find the source.  Then one day I had a spotless bike and was headed to a show and group ride.  I stopped on the way and noticed the oil spray, and I found the speedo drive nut had oil on it....and suddenly I figured out the scenario.  When I got on the highway that morning I did a full throttle run through the first 3 gears....and evidently when the crankcase pressure builds under full throttle and high rpms - it can force oil out the speedometer drive.  Mine no longer has the cable and is blocked off - but the oil was coming past the O-ring on the piece that holds the drive gear into the case.  I fixed that....and now I no longer have a leak.

Dave
Back to top
 
 

Someday I will be old......But not today!

  IP Logged
Digger
Serious Thumper
2005 No Login
*****
Offline

Ya gotta be tough to
ride singles!

Posts: 1604
Colorado Springs, CO
Gender: male
Re: A potential fix for speedo cable oil leak!
Reply #51 - 08/07/14 at 09:01:12
 
Dave wrote on 08/07/14 at 03:27:54:
It could also be the O-ring on the part that is mounted in the engine block.  Mine started leaking earlier this summer.

I had a strange once in a while issue with a fine oil drops on the right side of the engine, and it would also get on top of the fuel tank.  I could ride for weeks with nothing....and then it would show up - but I could not find the source.  Then one day I had a spotless bike and was headed to a show and group ride.  I stopped on the way and noticed the oil spray, and I found the speedo drive nut had oil on it....and suddenly I figured out the scenario.  When I got on the highway that morning I did a full throttle run through the first 3 gears....and evidently when the crankcase pressure builds under full throttle and high rpms - it can force oil out the speedometer drive.  Mine no longer has the cable and is blocked off - but the oil was coming past the O-ring on the piece that holds the drive gear into the case.  I fixed that....and now I no longer have a leak.

Dave  



Hi Dave,

Actually, an oil seal, not an o-ring, is utilized by the factory where the speedometer cable housing screws in to the top of the engine block via the knurled fitting (unless you know of an o-ring below this area that I'm unfamiliar with).  Said oil seal is discussed earlier in this thread.

My personal history with this seal is detailed here (this is a quote from an earlier post to this current thread):


Digger wrote on 08/22/12 at 19:42:17:
It will be interesting to see what luck people have with the OEM seal.

Mine started leaking not long after I got the bike (I bought it used with 70 miles on it back in 2001 - see signature block for specifics on the bike).

I replaced the OEM seal with an o-ring when the bike had about 600 miles on it.  A few years back, that o-ring started to leak, so I swapped out the old o-ring for a new one.  The bike now has 12,500 miles on it....and the second o-ring is still hanging in there....



Odd that you mention an o-ring, however, as that is how I generally seal this area (see here)

Jus' clearin' up the terminology......
Back to top
 
« Last Edit: 08/07/14 at 18:21:32 by Digger »  

Digger
2001, Metallic Glacial Blue, Raptor Petcock, Verslavy (first hole) (otherwise, mechanically, the bike is stock), 13,xxx miles
I don't own a cage.
www.astronautbiker.com
WWW   IP Logged
Dave
YaBB Moderator
ModSquad
*****
Offline

SuzukiSavage.com
Rocks!

Posts: 18593
Camp Springs, Kentucky
Gender: male
Re: A potential fix for speedo cable oil leak!
Reply #52 - 08/07/14 at 09:20:07
 
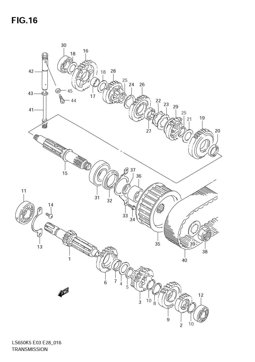
Not sure how well this page will show up - but the O-ring is part number 43, and it fits onto the tube #42 that goes into the case to hold the speedometer drive gear.  Mine was leaking at this O-ring when the engine was asked to use all 30 HP for a few gears.

Dave


Back to top
 

Parts_Page.gif

Someday I will be old......But not today!

  IP Logged
Digger
Serious Thumper
2005 No Login
*****
Offline

Ya gotta be tough to
ride singles!

Posts: 1604
Colorado Springs, CO
Gender: male
Re: A potential fix for speedo cable oil leak!
Reply #53 - 08/07/14 at 18:34:12
 
Dave wrote on 08/07/14 at 09:20:07:
Not sure how well this page will show up - but the O-ring is part number 43, and it fits onto the tube #42 that goes into the case to hold the speedometer drive gear.  Mine was leaking at this O-ring when the engine was asked to use all 30 HP for a few gears.

Dave





Dave,

Thanks for pointing that out....I learned something new!

It seems to me that the oil seal mentioned above in this thread would most likely be incapable of stopping a pressurized leak of motor oil past the o-ring (that you pointed out) and onto the exterior of the engine.

And, it also seems to me that, even if the o-ring you pointed out was leaking badly, the o-ring that I like to substitute for said oil seal (seen here: http://suzukisavage.com/cgi-bin/YaBB.pl?num=1268286763) WOULD stop any oil from escaping past the knurled fitting at the bottom of the speedometer cable.

That being said, I will most likely try to source a suitable o-ring for my kludgy fix tomorrow.....will report.
Back to top
 
 

Digger
2001, Metallic Glacial Blue, Raptor Petcock, Verslavy (first hole) (otherwise, mechanically, the bike is stock), 13,xxx miles
I don't own a cage.
www.astronautbiker.com
WWW   IP Logged
Dave
YaBB Moderator
ModSquad
*****
Offline

SuzukiSavage.com
Rocks!

Posts: 18593
Camp Springs, Kentucky
Gender: male
Re: A potential fix for speedo cable oil leak!
Reply #54 - 08/08/14 at 03:14:07
 
Digger:

I wonder if the cable housing is mostly sealed on both ends, and actuallly becomes slightly pressurized during operation? The seal might just be there to try and keep most the oil down in the crankcase.

My speedometer drive is sealed on the top with the knurled nut as I have an electronic speedo.  I made a stainless insert to cap off the drive and it is sealed tight with an O-ring....and the oil leak I was experiencing was the #43 O-ring down in the case.  It only leaked when I had the engine at full song!

Dave
Back to top
 
 

Someday I will be old......But not today!

  IP Logged
demonhunter
YaBB Newbies
*
Offline

SuzukiSavage.com
Rocks!

Posts: 17

Re: A potential fix for speedo cable oil leak!
Reply #55 - 09/25/14 at 22:40:21
 
Jeff71 wrote on 07/25/14 at 09:21:50:
What if you remove the cable completely? I'd like to do this on my project as I'll be running an Acewell speedo. I was thinking a nice acorn nut over it would work. (Or a nut with the end welded shut.) Anyone know the thread size and pitch? Thanks!
Jeff



I saw a previous post where they cut the old cable in order to get the stock "nut" free to use with a rubber stopper. I was looking to do the same as you since I went electrical and by dumb luck I threw a spare axle nut on there and it seems to be a match, M16 if I read correctly elsewhere. Not sure if this is relevant to you anymore but in case anyone else goes looking there you have it. I can't seem to find a reasonably priced acorn nut of that size however.

Nathan
Back to top
 
 
  IP Logged
Keifer
Junior Member
**
Offline

SuzukiSavage.com
Rocks!

Posts: 66
Canada
Re: A potential fix for speedo cable oil leak!
Reply #56 - 07/01/19 at 07:36:01
 
dcubansavage wrote on 08/03/13 at 10:42:22:
Hey Ben I just bought the bonded sealing washer u recommend. Quick question??? Does the metal side of the washer go down against the engine or the rubber side? Tx.


Old thread, first time poster, but could be relevant to someone else.

Can anyone answer this?  I just bought the OEM part but not sure if the metal side goes up or down against the case.  Thanks!
Back to top
 
 

93 Savage - 21K miles
  IP Logged
batman
Serious Thumper
*****
Offline

SuzukiSavage.com
Rocks!

Posts: 3806
osceola new york
Gender: male
Re: A potential fix for speedo cable oil leak!
Reply #57 - 07/01/19 at 19:43:47
 
Not many have ever though of a copper washer, I use these for the speedo cable and oil drain plug , I anneal the copper washers  ,which allows them to be used over and over again. copper being softer than the speedo cable can never damage it. The use of a copper washer on the oil drain plug means it will never be frozen ,it will always be removable even if you torque it down hard ,and it won't leak.
Back to top
 
« Last Edit: 07/02/19 at 09:56:42 by batman »  

my old work mates called me MacGyver
  IP Logged
Pages: 1 2 3 4 
Send Topic Print


« Home

 
« Home
SuzukiSavage.com
12/27/25 at 00:25:47



General CategoryRubber Side Down! › A potential fix for speedo cable oil leak!


SuzukiSavage.com » Powered by YaBB 2.2!
YaBB © 2000-2007. All Rights Reserved.