Donate!
Welcome, Guest. Please Login or Register :: View Members
Pages: 1 ... 3 4 5 6 7 
Send Topic Print
tuneing your intake (Read 1660 times)
VortecCPI
Full Member
***
Offline

SuzukiSavage.com
Rocks!

Posts: 127

Re: tuneing your intake
Reply #60 - 06/08/16 at 06:31:57
 
Kris01 wrote on 06/07/16 at 19:24:19:
Very interesting read. So where would a velocity stack fit - before or after the air filter? I assume you'd need the air to enter the vel. stack and then the filter but wouldn't that dilute the wave?


http://www.35pickup.com/tbucketa.jpg


No.  Filter is at end of velocity stack.  As Lancer stated most race applications have no need for a filter.  Since we are on the street we basically have a velocity stack with a filter at the end.  Ideally we would like to have the runner between the carb and port.
Back to top
 

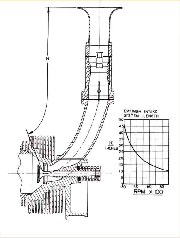
IntakeLength_001.png
  IP Logged
Dave
YaBB Moderator
ModSquad
*****
Online

SuzukiSavage.com
Rocks!

Posts: 18588
Camp Springs, Kentucky
Gender: male
Re: tuneing your intake
Reply #61 - 06/08/16 at 06:56:38
 
It is possible to have a filter prior to the velocity stack.  The stock air filter on the Porsche 911/914-6 engine has a canister that fits around the top of the carb/velocity stacks.....and then a large air filter housing fits on top of the carbs.  This provides both the performance advantages of a velocity stack - and the benefits of a filter....and it makes the intake weatherproof!





And for those who want something a bit lighter.....they do have aftermarket paper, gauze of foam filters that can fit over the velocity stacks.





And you can get them with rainshields that keep water from dropping into the filter.




Is this as efficient as an open velocity stack?  Probably not - but it deals better with the dirty air and water that a street driven car or bike has to endure.  Grit in the air can drastically shorten the life of the piston/rings/cylinder.
Back to top
 
 

Someday I will be old......But not today!

  IP Logged
Kris01
Serious Thumper
*****
Offline

Eat, sleep, RIDE!

Posts: 3767
Tennessee
Gender: male
Re: tuneing your intake
Reply #62 - 06/08/16 at 19:31:26
 
Forget about total intake duct length for a second. Does the length of the velocity stack mean anything? Or does it only matter if you are looking for a specific total length for the entire intake duct? For instance, is a 7" stack better than a 5"?
Back to top
 
 

There's no problem that a full tank of gas and a sunny day can't fix!

2008 S40, Rotella T 15W-40 w/ZDDP added, Dyna, 140/90-15, Battery Tender Jr., Seat lift, #52.5/150/3 washers, Raptor
  IP Logged
VortecCPI
Full Member
***
Offline

SuzukiSavage.com
Rocks!

Posts: 127

Re: tuneing your intake
Reply #63 - 06/09/16 at 05:37:27
 
Kris01 wrote on 06/08/16 at 19:31:26:
Forget about total intake duct length for a second. Does the length of the velocity stack mean anything? Or does it only matter if you are looking for a specific total length for the entire intake duct? For instance, is a 7" stack better than a 5"?


Absolutely.  The length must be matched to cam timing and harmonic(s).  The total length (atmosphere to valve) is what must be taken into consideration.  Very generally speaking longer promotes low-speed TQ and shorter promotes high-speed TQ.

For a great test on stack lengths see here:  http://www.phaedrus.me/id158.html

As you can see the impact can be dramatic and substantial.  In my case it was both and the change to midrange TQ was just crazy.
Back to top
 
 
  IP Logged
Kris01
Serious Thumper
*****
Offline

Eat, sleep, RIDE!

Posts: 3767
Tennessee
Gender: male
Re: tuneing your intake
Reply #64 - 06/09/16 at 16:14:07
 
Thanks! This is a very interesting discussion. I did a search the other day and found a Dodge Neon site where the guy had used individual throttle bodies and used PVC pipes as test velocity stacks. He picked up (I think) 18 ft/lbs in the mid-range with a certain size stack. Very cool!
Back to top
 
 

There's no problem that a full tank of gas and a sunny day can't fix!

2008 S40, Rotella T 15W-40 w/ZDDP added, Dyna, 140/90-15, Battery Tender Jr., Seat lift, #52.5/150/3 washers, Raptor
  IP Logged
justin_o_guy2
Serious Thumper
*****
Offline

What happened?

Posts: 55279
East Texas, 1/2 dallas/la.
Re: tuneing your intake
Reply #65 - 06/09/16 at 21:33:34
 
My doctor told me to reduce my intake.

I said

Phhhhhhht!
Back to top
 
 

The people never give up their liberties but under some delusion.- Edmund Burke.
  IP Logged
mastercarstech
YaBB Newbies
*
Offline

SuzukiSavage.com
Rocks!

Posts: 43

Re: tuneing your intake
Reply #66 - 06/22/16 at 21:04:09
 
Interesting discussion. I'm planning a setup similar to verslagens. Any thoughts/ideas on the effect of the inside diameter of the intake tube? Right now I'm running a straight tube about 2 1/4 inch diameter that matches the size of the carburetor inlet (outside diameter). Over all length is about 8 to 9 inches long with a cheapo ebay cone filter that came with the bike.
Back to top
 
 
  IP Logged
gizzo
Serious Thumper
*****
Offline

SuzukiCabbage. It's
Savage.

Posts: 1318
Australia
Re: tuneing your intake
Reply #67 - 06/23/16 at 02:22:16
 
Here's a pic of the velocity stack inside my Enfield's airbox. It replaces a paper filter that used to fit inside the airbox (lousy design) and the filter is relocated to the outside of the box in a custom made lid. It makes a worthwhile improvement over the stock  setup.
Back to top
 

IMAG1117.jpg
  IP Logged
gizzo
Serious Thumper
*****
Offline

SuzukiCabbage. It's
Savage.

Posts: 1318
Australia
Re: tuneing your intake
Reply #68 - 06/23/16 at 02:27:24
 
Filter lid
Back to top
 

IMAG1118.jpg
  IP Logged
justin_o_guy2
Serious Thumper
*****
Offline

What happened?

Posts: 55279
East Texas, 1/2 dallas/la.
Re: tuneing your intake
Reply #69 - 06/23/16 at 03:45:15
 
Is that a purchased bit of hop up stuff or did you do that all by yourself? If you did it, take more than one bow to the well deserved
Standing O

Because it looks Mahvelous, simply Mahvelous.

Back to top
 
 

The people never give up their liberties but under some delusion.- Edmund Burke.
  IP Logged
gizzo
Serious Thumper
*****
Offline

SuzukiCabbage. It's
Savage.

Posts: 1318
Australia
Re: tuneing your intake
Reply #70 - 06/23/16 at 05:22:19
 
No, I can't take credit for it. A couple of very talented guys on the Enfield forum made them and did a small production run for us. Looks nice, huh? One of those guys is doing a billet cnc cylinder head and rockers for the bullet engine, as well.
Back to top
 
 
  IP Logged
Kris01
Serious Thumper
*****
Offline

Eat, sleep, RIDE!

Posts: 3767
Tennessee
Gender: male
Re: tuneing your intake
Reply #71 - 06/23/16 at 05:34:09
 
mastercarstech wrote on 06/22/16 at 21:04:09:
Interesting discussion. I'm planning a setup similar to verslagens. Any thoughts/ideas on the effect of the inside diameter of the intake tube? Right now I'm running a straight tube about 2 1/4 inch diameter that matches the size of the carburetor inlet (outside diameter). Over all length is about 8 to 9 inches long with a cheapo ebay cone filter that came with the bike.


A bell mouth opening flows much better than a straight pipe. You'd do well to curve the entrance to the intake.
Back to top
 
 

There's no problem that a full tank of gas and a sunny day can't fix!

2008 S40, Rotella T 15W-40 w/ZDDP added, Dyna, 140/90-15, Battery Tender Jr., Seat lift, #52.5/150/3 washers, Raptor
  IP Logged
mastercarstech
YaBB Newbies
*
Offline

SuzukiSavage.com
Rocks!

Posts: 43

Re: tuneing your intake
Reply #72 - 06/23/16 at 18:15:57
 
Question for Verslagen, is your intake setup a rubber hose or steel/plastic?if it is rubber have you had any issues with it sucking in or clasping with it being a bit longer than normal?
Back to top
 
 
  IP Logged
verslagen1
YaBB Moderator
ModSquad
*****
Offline

Where there's a
will, I want to be
in it.

Posts: 29042
L.A. California
Gender: male
Re: tuneing your intake
Reply #73 - 06/23/16 at 19:30:08
 


From the carb to the tee is heavy reinforced rubber.
The tee is steel.
And I'm a little busy at WFO to notice.
Back to top
 
 
WWW   IP Logged
VortecCPI
Full Member
***
Offline

SuzukiSavage.com
Rocks!

Posts: 127

Re: tuneing your intake
Reply #74 - 06/24/16 at 10:07:47
 
Kris01 wrote on 06/23/16 at 05:34:09:
A bell mouth opening flows much better than a straight pipe. You'd do well to curve the entrance to the intake.


CFD work and dyno work has shown this is not true for small airflows like what we are dealing with here.  A 10,000 HP dragster engine pulling 3,000 CFM, yes, but not our puny engines.  Twice the flow or velocity equates to four times the pressure drop so it will become a problem with very large air flow/velocity.  That being said the inside corner should definitely be chamfered/radiused.

See here for HD XR1200 dyno work:  http://www.phaedrus.me/id158.html

"In back-to-back dyno tests with and without the flare on the end of a tube, there was no noticeable difference in power output or torque produced.  The flared end did not appear to make any difference in the dyno runs.  So, all of the following test runs were conducted without the flare."
Back to top
 
 
  IP Logged
Pages: 1 ... 3 4 5 6 7 
Send Topic Print


« Home

 
« Home
SuzukiSavage.com
12/22/25 at 19:26:16



General CategoryRubber Side Down! › tuneing your intake


SuzukiSavage.com » Powered by YaBB 2.2!
YaBB © 2000-2007. All Rights Reserved.